Aerazione camera interna

Componenti che richiedono lo sfiato quando si utilizza un fluido lubrorefrigerante

Con l’aumento dell’uso di lubrorefrigeranti e fluidi da taglio nella lavorazione dei metalli aumenta anche il pericolo che alcuni fluidi molto aggressivi penetrino nelle aree delle molle degli elementi di serraggio a semplice effetto e degli irridigitori antivibranti, causando malfunzionamenti. È importante tenere conto di questi problemi in fase di progettazione.

Ventilazione di cilindri filettati e a basetta

Perché è necessario lo sfiato?

I cilindri a doppio effetto sono più adatti alle applicazioni di lavorazione che prevedono l’uso di refrigerante in quantità rilevanti. Infatti a differenza dei cilindri a doppio effetto, che sfruttano il fluido idraulico pressurizzato su entrambe i lati del pistone, mentre i componenti a semplice effetto hanno una piccola camera d’aria per la molla su un lato del pistone o dello stelo. L’aria viene prevalentemente espulsa durante la corsa di serraggio e viene poi aspirata durante la corsa di sbloccaggio, generando un effetto di depressione e risucchio. L’uso di refrigeranti e fluidi da taglio deve quindi essere considerato nella progettazione dell’attrezzatura. Sebbene tutti i serraggi a semplice effetto siano dotati di filtri dell’aria in metallo sinterizzato per impedire l’ingresso di contaminanti, esiste comunque la possibilità che fluidi aggressivi entrino nell’area della molla (soprattutto con la lubrorefrigerazione a flusso continuo), causando eventualmente malfunzionamenti.

Se i componenti non sono adeguatamente sfiatati, si può verificare un eccesso di pressione o di vuoto nella camera della molla, con conseguente modifica delle forze della molla e potenziali malfunzionamenti. La formazione di acqua di condensa favorisce la formazione di ruggine e può portare alla rottura del componente. L’accumulo di liquido nell’area della molla è forse il problema peggiore, perché può causare un eccesso di pressione o di vuoto in modo significativo, con conseguenti malfunzionamenti immediatamente riscontrabili.

Interazione dell'aria con la camera della molla di vari cilindri a semplice effetto

Soluzione 1: coperture/carterizzazioni protettive

Gli elementi di serraggio senza porta di sfiato possono essere coperti, ma a causa delle elevate quantità di refrigerante tipicamente utilizzate oggi, questo approccio a volte non ha successo. In tali applicazioni è opportuno prendere in considerazione elementi a doppio effetto.

Riparo sulla vena di aerazione di un cilindro a semplice effetto, per evitare l'ingresso del refrigerante

Soluzione 2: linee di sfiato

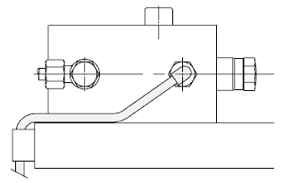
Sostituire il tappo del filtro di sfiato con un raccordo di sfiato, quindi collegare un tubo flessibile (rielsan) o un tubo di sfiato se l’estremità aperta può essere spostata in un punto in cui non può penetrare alcun liquido. Questo metodo funziona bene, in virtù della sua semplicità e della rapidità con cui può essere implementato. Trovare un’area asciutta non è sempre facile su un pallet di un centro di lavoro inondato di refrigerante.

Tubo flessibile di sfiato per la camera di aerazione della molla

Soluzione 3: sistema chiuso di ventilazione

L’area della molla può essere aumentata collegando un volume aggiuntivo sufficientemente grande, in modo da generare solo una piccola pressione o depressione in eccesso, così da non influenzare il funzionamento degli elementi e non far defluire i liquidi. Le scatole elettriche impermeabili dotate di filettature di collegamento per i tubi di spurgo sono ideali per questo lavoro. Il volume di questa “area aggiuntiva” deve essere pari a dieci volte il volume scaturente dalla corsa di tutti gli elementi collegati.

Potrebbe interessarti:

keyboard_arrow_up